Patents

Modular Carousel Assembly and Method

A modular rotating carousel assembly for storage or unspooling of pipe or cable. 

Modular Carousel Assembly and Method

A modular rotating carousel assembly for storage or unspooling of pipe or cable.

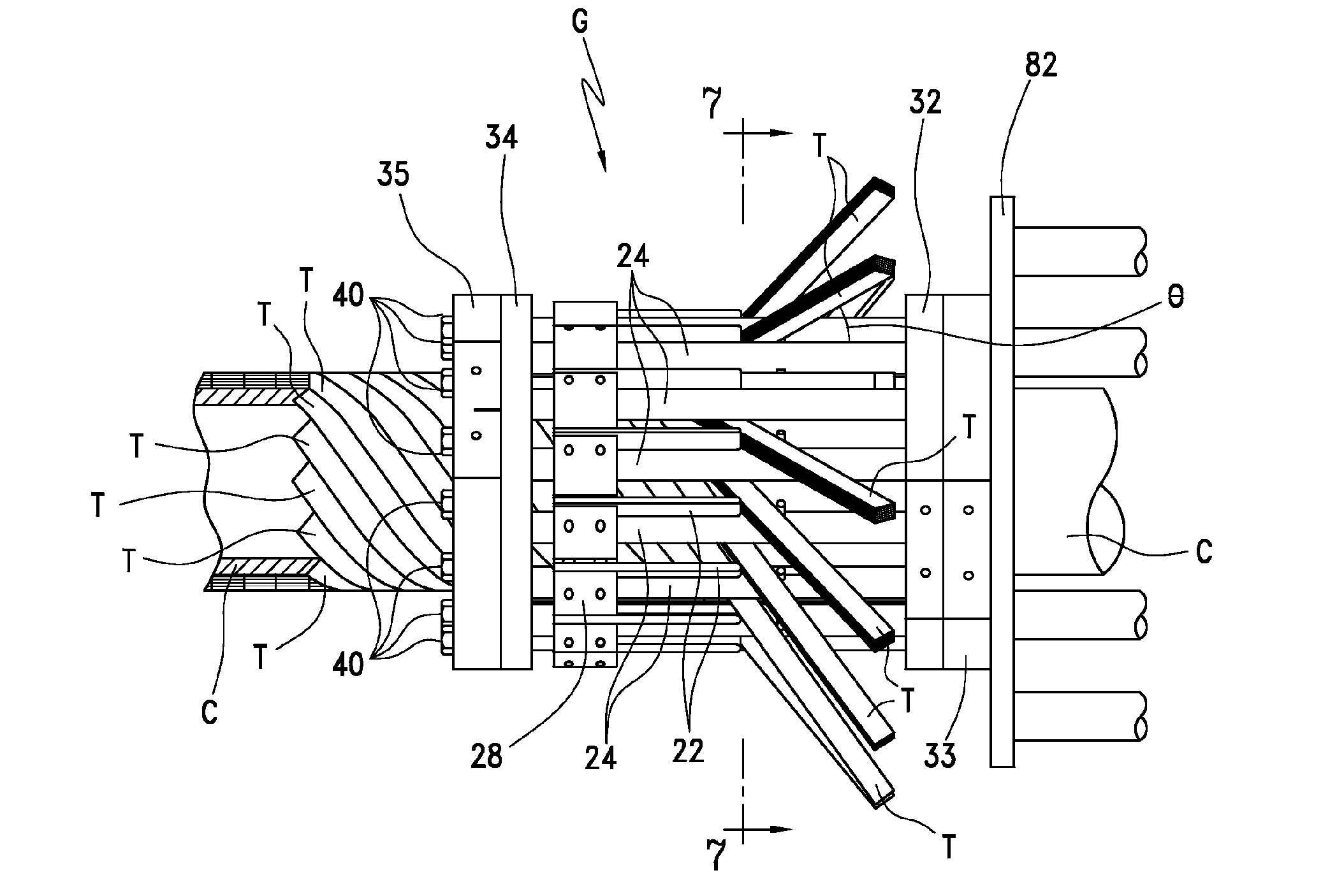
Layered Tape Guide Spool and Alignment Device and Method

A layered tape guide spool developed for the manufacture of flexible pipe.

Layered Tape Guide Spool and Alignment Device and Method

A layered tape guide spool developed for the manufacture of flexible pipe.

Batch Thermoformer for Dental Appliances

A system for thermoforming a batch of dental appliances simultaneously. 

Batch Thermoformer for Dental Appliances

A system for thermoforming a batch of dental appliances simultaneously. 

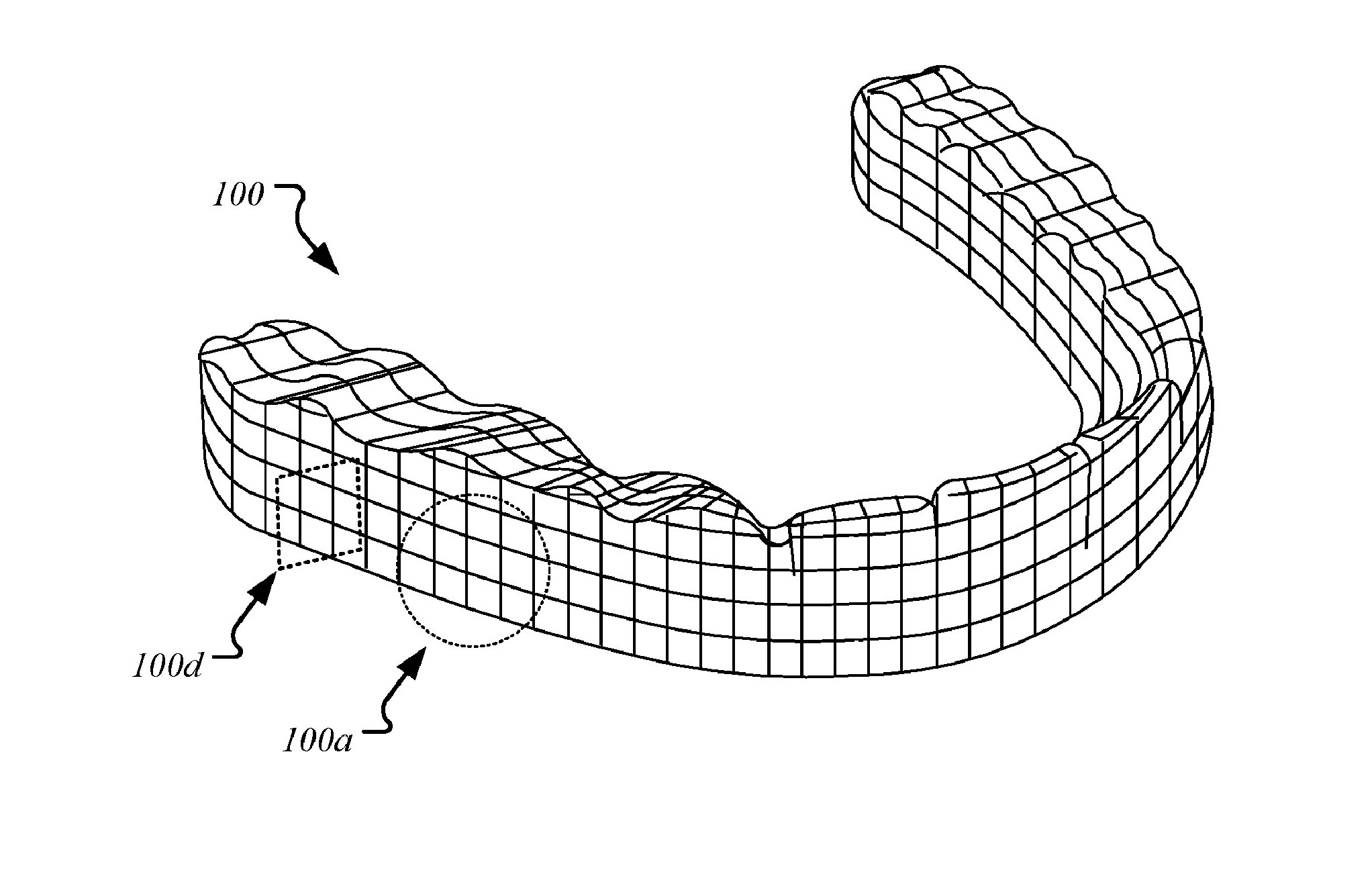
Dental Appliances having Patient Specific Material Stress Arrangements and Associated Method of Manufacture

A 3-D printed dental appliance utilizing voxles which allows for materials of different strengths to be deposited so that the matrix of printed voxles applies force to one or more teeth causing it (them) to shift into a second tooth alignment.

Dental Appliances having Patient Specific Material Stress Arrangements and Associated Method of Manufacture

A 3-D printed dental appliance utilizing voxles which allows for materials of different strengths to be deposited so that the matrix of printed voxles applies force to one or more teeth causing it (them) to shift into a second tooth alignment.

Thank you for visiting MarbertMoore.com

Thank you for visiting MarbertMoore.com